ТУ 25.99.21-005-52404267-2018
Назначение
Двери защитно-герметические, используются для монтажа в дверных проемах в убежищах, для непосредственной защиты от действия ударной волны, а так же проступания отравляющих веществ в объект.



Технические характеристики.
- Защитно-герметические двери следующих модификаций: ДУ (ОЗ)-I-7, ДУ(ОЗ)-I-8, ДУ(ОЗ)-I-9, ДУ)(ОЗ)-II-2, ДУ(ОЗ)-II-3, ДУ(ОЗ)-III-2, ДУ(ОЗ)-III-3, ДУ(ОЗ)-III-5, ДУ(ОЗ)-III-6, ДУ(ОЗ)-III-7 (Таблица 6).
- Двери герметические распашные следующих видов: ДУ(ОЗ)-IV-2, ДУ(ОЗ)-IV-3, ДУ(ОЗ)-IV-6 (без клапана КИДМ), ДУ(ОЗ)-IV-7.
Условное обозначение
|
Тип убежища |
Тип дверей |
Размер проема мм |
Габаритные размеры мм |
Масса кг |
Серия |
Вид открывания |
|||||
|
I |
ДУ-I-5 |
1800x2400 |
- |
- |
01.036-1 |
откатная |
|||||
|
I |
ДУ-I-7 |
800х1800 |
см чертеж |
745 |
01.036-1 |
распашная |
|||||
|
I |
ДУ-I-8 |
1200х2000 |
см чертеж |
890 |
01.036-1 |
распашная |
|||||
|
I |
ДУ-I-9 |
600Х1600 |
см чертеж |
685 |
01.036-1 |
распашная |
|||||
|
II |
ДУ-II-2 |
1200x2000 |
см чертеж |
850 |
01.036-1 |
распашная |
|||||
|
II |
ДУ-II-3 |
800х1800 |
см чертеж |
715 |
01.036-1 |
распашная |
|||||
|
II |
ДУ-II-4 |
1800x2400 |
См.чертеж |
3530 |
01.036-1 |
откатная |
|||||
|
III |
ДУ-III-5 |
1200x2000 |
см чертеж |
673 |
01.036-1 |
распашная |
|||||
|
III |
ДУ-III-6 |
800x1800 |
см чертеж |
492 |
01.036-1 |
распашная |
|||||
|
III |
ДУ-III-8 |
1800x2400 |
см.чертеж |
240 |
01.036-1 |
откатная |
|||||
|
IV |
ДУ-IV-2 |
1200x2000 |
см чертеж |
403 |
01.036-1 |
распашная |
|||||
|
IV |
ДУ-IV-3 |
800x1800 |
см чертеж |
325 |
01.036-1 |
распашная |
|||||
|
Тип убежища |
Тип дверей |
Размер проема мм |
Габаритные размеры мм |
Масса кг |
Серия |
Вид открывания |
|||||
|
III |
ДУ-III-2 |
1200x2000 |
1400х2200х330 |
736 |
01.036-1 |
распашная |
|||||
|
III |
ДУ-III-3 |
800x1800 |
1000х2000х330 |
562 |
01.036-1 |
распашная |
|||||
|
III |
ДУ-III-4 |
- |
- |
- |
01.036-1 |
распашная |
|||||
|
III |
ДУ-III-7 |
800x2000 |
1000х2200х355 |
650 |
01.036-1 |
распашная |
|||||
|
IV |
ДУ-IV-6 |
600х1600 |
841х1870х205 |
239 |
01.036-1 |
распашная |
|||||
|
IV |
ДУ-IV-7 |
800х2000 |
1000х2200х330 |
324 |
01.036-1 |
распашная |
|||||
Завод-изготовитель имеет право вносить изменения в конструкцию, не влияющие на защитные и герметические свойства изделия.
Установка
Защитно-герметические двери устанавливаются одновременно с монтажом арматуры стен до бетонирования (в процессе строительства). Двери устанавливаются на высоту 150 мм от уровня чистого пола, высота установки ставней – 350 мм от уровня чистого пола. Установка дверей в проектное положение должна производиться в закрытом положении механизма задраивания. Положение изделия по высоте фиксируется с помощью подставок. Все изделия устанавливаются строго вертикально.
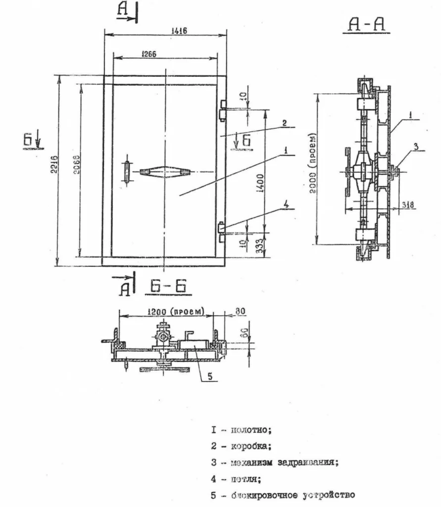
Рис.7 Дверь защитно-герметическая распашная ДУ-I-7
Рис.8 Дверь защитно-герметическая распашная ДУ-I-8
Рис. 9 Дверь защитно-герметическая распашная ДУ-I-9
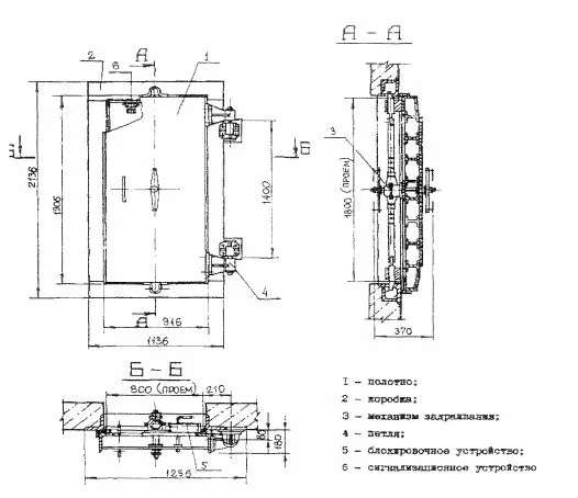
Рис.10 Дверь защитно-герметическая распашная ДУ-II-2
Рис.11 Дверь защитно-герметическая распашная ДУ-II-3
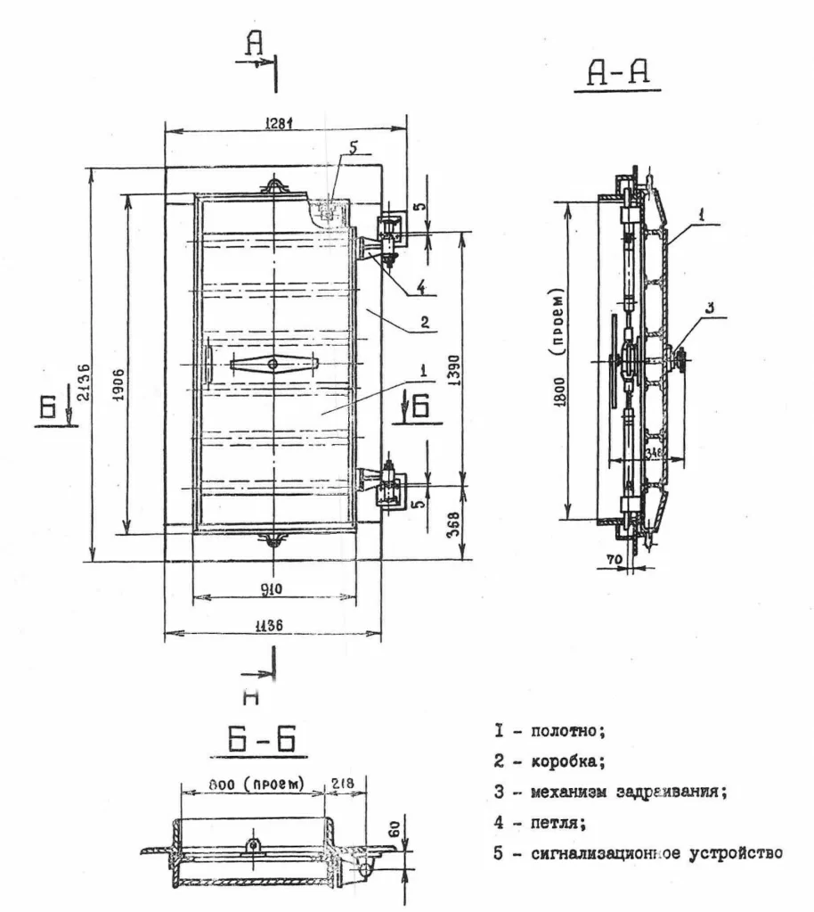
Рис. 12 Дверь защитно-герметическая распашная ДУ-III-5
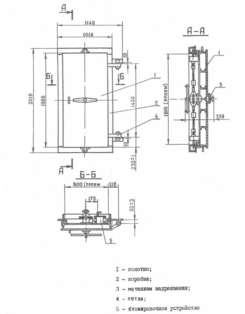
Рис. 13 Дверь защитно-герметическая распашная ДУ-III-6
Рис. 14 Дверь герметическая распашная ДУ-IV-2
Рис. 15 Дверь герметическая распашная ДУ-IV-3
Рис. 16 Дверь защитно-герметическая откатная ДУ-I-5
Рис. 17 Дверь защитно-герметическая откатная ДУ-IV-4

