Дверь защитно-герметическая ДУ-II-3

Дверь защитно-герметическая ДУ-II-3
Розничная цена:
186 100 ₽
Цена действительна только при покупке в интернет-магазине

ТУ 25.99.21-005-52404267-2018

Назначение

Двери защитно-герметические, используются для монтажа в дверных проемах в убежищах, для непосредственной защиты от действия ударной волны, а так же проступания отравляющих веществ в объект.

749d60862e2f285c4171938d8dddaf39.jpgd60c2bae0dde1e4eff5bbf4802de185f.jpg83d3b592b263fd493099e283c5ed3786.jpg

Технические характеристики.

  1. Защитно-герметические двери следующих модификаций: ДУ (ОЗ)-I-7, ДУ(ОЗ)-I-8, ДУ(ОЗ)-I-9, ДУ)(ОЗ)-II-2, ДУ(ОЗ)-II-3, ДУ(ОЗ)-III-2, ДУ(ОЗ)-III-3, ДУ(ОЗ)-III-5, ДУ(ОЗ)-III-6, ДУ(ОЗ)-III-7 (Таблица 6).
  2. Двери герметические распашные следующих видов: ДУ(ОЗ)-IV-2, ДУ(ОЗ)-IV-3, ДУ(ОЗ)-IV-6 (без клапана КИДМ), ДУ(ОЗ)-IV-7.

Условное обозначение

Условное обозначение

Тип

убежища

Тип дверей

Размер проема мм

Габаритные размеры мм

Масса кг

Серия

Вид

открывания

I

ДУ-I-5

1800x2400

-

-

01.036-1

откатная

I

ДУ-I-7

800х1800

см чертеж

745

01.036-1

распашная

I

ДУ-I-8

1200х2000

см чертеж

890

01.036-1

распашная

I

ДУ-I-9

600Х1600

см чертеж

685

01.036-1

распашная

II

ДУ-II-2

1200x2000

см чертеж

850

01.036-1

распашная

II

ДУ-II-3

800х1800

см чертеж

715

01.036-1

распашная

II

ДУ-II-4

1800x2400

См.чертеж

3530

01.036-1

откатная

III

ДУ-III-5

1200x2000

см чертеж

673

01.036-1

распашная

III

ДУ-III-6

800x1800

см чертеж

492

01.036-1

распашная

III

ДУ-III-8

1800x2400

см.чертеж

240

01.036-1

откатная

IV

ДУ-IV-2

1200x2000

см чертеж

403

01.036-1

распашная

IV

ДУ-IV-3

800x1800

см чертеж

325

01.036-1

распашная

Тип

убежища

Тип дверей

Размер проема мм

Габаритные размеры мм

Масса кг

Серия

Вид

открывания

III

ДУ-III-2

1200x2000

1400х2200х330

736

01.036-1

распашная

III

ДУ-III-3

800x1800

1000х2000х330

562

01.036-1

распашная

III

ДУ-III-4

-

-

-

01.036-1

распашная

III

ДУ-III-7

800x2000

1000х2200х355

650

01.036-1

распашная

IV

ДУ-IV-6

600х1600

841х1870х205

239

01.036-1

распашная

IV

ДУ-IV-7

800х2000

1000х2200х330

324

01.036-1

распашная

Завод-изготовитель имеет право вносить изменения в конструкцию, не влияющие на защитные и герметические свойства изделия.

Установка

Защитно-герметические двери устанавливаются одновременно с монтажом арматуры стен до бетонирования (в процессе строительства). Двери устанавливаются на высоту 150 мм от уровня чистого пола, высота установки ставней – 350 мм от уровня чистого пола. Установка дверей в проектное положение должна производиться в закрытом положении механизма задраивания. Положение изделия по высоте фиксируется с помощью подставок. Все изделия устанавливаются строго вертикально.

Дверь защитно-герметическая распашная ДУ-I-7

Рис.7 Дверь защитно-герметическая распашная ДУ-I-7

Дверь защитно-герметическая распашная ДУ-I-8

Рис.8 Дверь защитно-герметическая распашная ДУ-I-8

Дверь защитно-герметическая распашная ДУ-I-9

Рис. 9 Дверь защитно-герметическая распашная ДУ-I-9

Дверь защитно-герметическая распашная ДУ-II-2

Рис.10 Дверь защитно-герметическая распашная ДУ-II-2

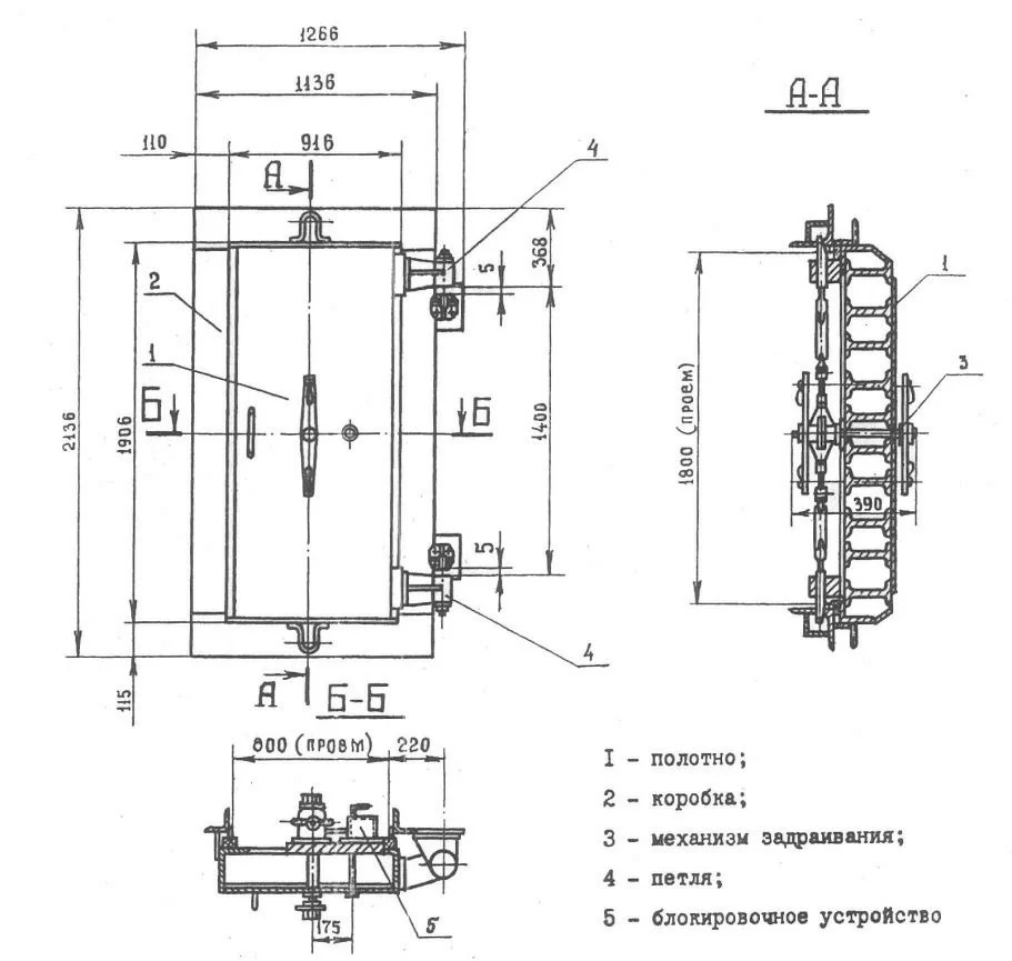
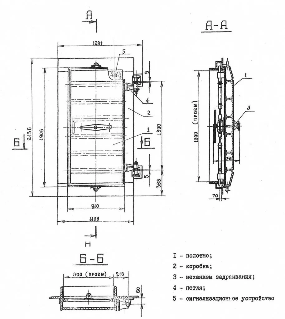
Дверь защитно-герметическая распашная ДУ-II-3

Рис.11 Дверь защитно-герметическая распашная ДУ-II-3

Дверь защитно-герметическая распашная ДУ-III-5

Рис. 12 Дверь защитно-герметическая распашная ДУ-III-5

Дверь защитно-герметическая распашная ДУ-III-6

Рис. 13 Дверь защитно-герметическая распашная ДУ-III-6

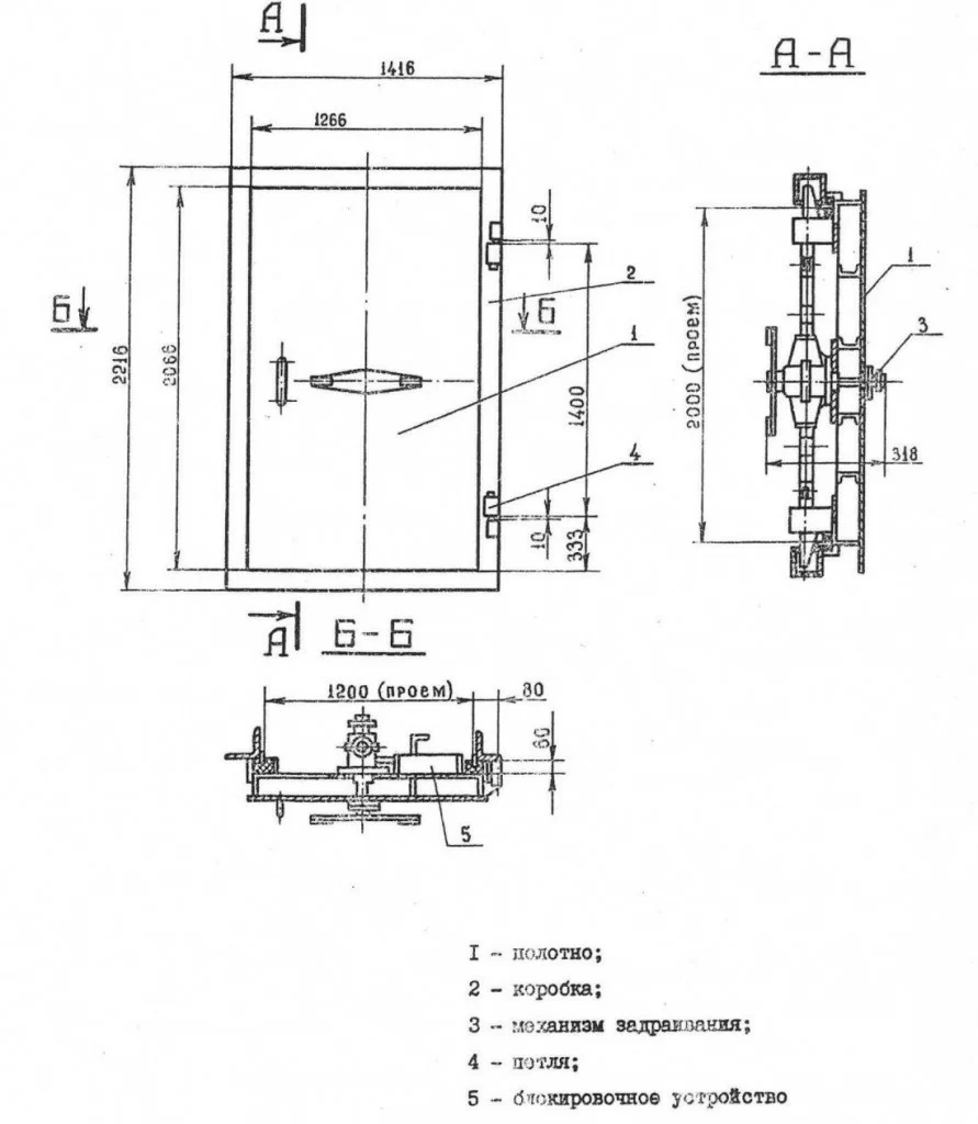
Дверь герметическая распашная ДУ-IV-2

Рис. 14 Дверь герметическая распашная ДУ-IV-2

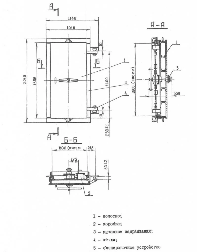
Дверь герметическая распашная ДУ-IV-3

Рис. 15 Дверь герметическая распашная ДУ-IV-3

Дверь защитно-герметическая откатная ДУ-I-5

Рис. 16 Дверь защитно-герметическая откатная ДУ-I-5

Дверь защитно-герметическая откатная ДУ-IV-4

Рис. 17 Дверь защитно-герметическая откатная ДУ-IV-4



Есть вопросы — спрашивайте!

Наши специалисты помогут Вам, окажут бесплатную консультацию или запишут на приём
Вернуться

Просматривали