Требования к качеству
При поставке продукция сопровождается:
· паспортом на 1 (один) комплект;
· техническому описанию и инструкцией по эксплуатации;
·
Гарантийные обязательства
Гарантийный срок хранения 7,5 лет со дня приемки ОТК, в том числе не более 1,5 лет – в таре предприятия-изготовителя до монтажа в фильтровентиляционную установку.
Технические характеристики
Комплекты монтажных деталей к регенеративному патрону РП-100 изготовлены согласно ТУ
Комплектность поставки
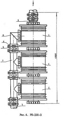
Регенеративный патрон РП-100 с монтажными частями на объекте на объекте монтируется в установки и должен присоединяться к системе фильтровентиляционного объекта. Комплектность поставки монтажных деталей к РП-100 варьируется в зависимости от схемы монтажа регенеративных патронов РП-100 в колонки по 1, 2 или 3 шт. соответственно.
Конструктивные требования
Монтажные детали к РП-100 представляют собой металлические воздуховоды различной конфигурации, окрашенные эмалью защитного цвета.
Упаковка
Комплекты монтажных деталей к установкам упакованы в деревянные ящики (1 (один) комплект - 1 (один) ящик).

